Спецмашинжиниринг

+7 (4722) 34-50-28

МЕНЮ
ЗАКАЗАТЬ ЗВОНОК

SM-A-16-25-4-06-45

Главная - Инструмент - Фрезы - Борфрезы - Тип A - Борфрезы цилиндрические - Глубокая одинарная насечка

SM-A-16-25-4-06-45

Артикул: 2242, Бренд: СМИ, Страна: Россия, Наличие: Под заказ

Уточнить Добавить в корзину

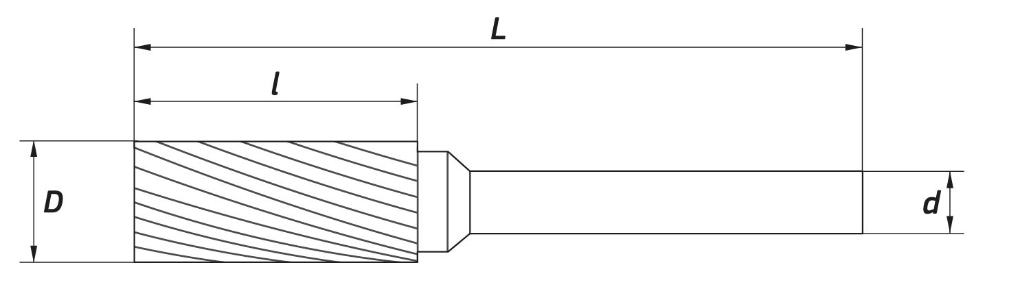
Характеристики:

D, мм
16
l, мм
25
L, мм
70
d, мм
6

Описание:

Твердосплавная бор-фреза цилиндрическая Тип А.
Размеры : диаметр рабочей части 16 мм, диаметр хвостовика 6 мм, длина рабочей части 25 мм, длина хвостовика 45 мм. Глубокая одинарная насечка.
Они идеально подходят для обработки больших поверхностей, пазов и отверстий.

Инфрмация для заказа:

На сайте СПЕЦМАШИНЖИНИРИНГ.РФ Вы можете купить SM-A-16-25-4-06-45, добавив товар в корзину и оставив контактные данные или позвонив по телефону +7 (4722) 34-50-28. Наши менеджеры проконсультируют Вас и примут заказ.

КОНТАКТНАЯ ИНФОРМАЦИЯ

Посмотреть на карте Белгорода

Написать в Telegram