Спецмашинжиниринг

+7 (4722) 34-50-28

МЕНЮ
ЗАКАЗАТЬ ЗВОНОК

SM-H-06-13-1-03-38

Главная - Инструмент - Фрезы - Борфрезы - Тип H - Борфрезы пламевидные - Одинарная насечка

SM-H-06-13-1-03-38

Артикул: 2556, Бренд: СМИ, Страна: Россия, Наличие: Под заказ

Уточнить Добавить в корзину

Характеристики:

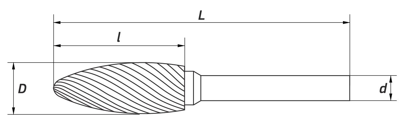
D, мм
6
l, мм
13
L, мм
51
d, мм
3

Описание:

Твердосплавная бор-фреза пламевидная Тип H.
Размеры : диаметр рабочей части 6 мм, диаметр хвостовика 3 мм, длина рабочей части 13 мм, длина хвостовика 38 мм. Одинарная насечка.
Применяются на скругленных поверхностях, а также для снятия фаски у формованных деталей.

Инфрмация для заказа:

На сайте СПЕЦМАШИНЖИНИРИНГ.РФ Вы можете купить SM-H-06-13-1-03-38, добавив товар в корзину и оставив контактные данные или позвонив по телефону +7 (4722) 34-50-28. Наши менеджеры проконсультируют Вас и примут заказ.

КОНТАКТНАЯ ИНФОРМАЦИЯ

Посмотреть на карте Белгорода

Написать в Telegram