Спецмашинжиниринг

+7 (4722) 34-50-28

МЕНЮ
ЗАКАЗАТЬ ЗВОНОК

SM-H-08-20-1-06-45

Главная - Инструмент - Фрезы - Борфрезы - Тип H - Борфрезы пламевидные - Одинарная насечка

SM-H-08-20-1-06-45

Артикул: 2558, Бренд: СМИ, Страна: Россия, Наличие: Под заказ

Уточнить Добавить в корзину

Характеристики:

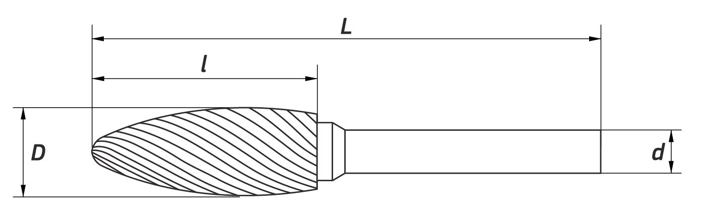
D, мм
8
l, мм
20
L, мм
65
d, мм
6

Описание:

Твердосплавная бор-фреза пламевидная Тип H.
Размеры : диаметр рабочей части 8 мм, диаметр хвостовика 6 мм, длина рабочей части 20 мм, длина хвостовика 45 мм. Одинарная насечка.
Применяются на скругленных поверхностях, а также для снятия фаски у формованных деталей.

Инфрмация для заказа:

На сайте СПЕЦМАШИНЖИНИРИНГ.РФ Вы можете купить SM-H-08-20-1-06-45, добавив товар в корзину и оставив контактные данные или позвонив по телефону +7 (4722) 34-50-28. Наши менеджеры проконсультируют Вас и примут заказ.

КОНТАКТНАЯ ИНФОРМАЦИЯ

Посмотреть на карте Белгорода

Написать в Telegram