Спецмашинжиниринг

+7 (4722) 34-50-28

МЕНЮ
ЗАКАЗАТЬ ЗВОНОК

SM-H-12-32-4-06-43

Главная - Инструмент - Фрезы - Борфрезы - Тип H - Борфрезы пламевидные - Глубокая одинарная насечка

SM-H-12-32-4-06-43

Артикул: 2593, Бренд: СМИ, Страна: Россия, Наличие: Под заказ

Уточнить Добавить в корзину

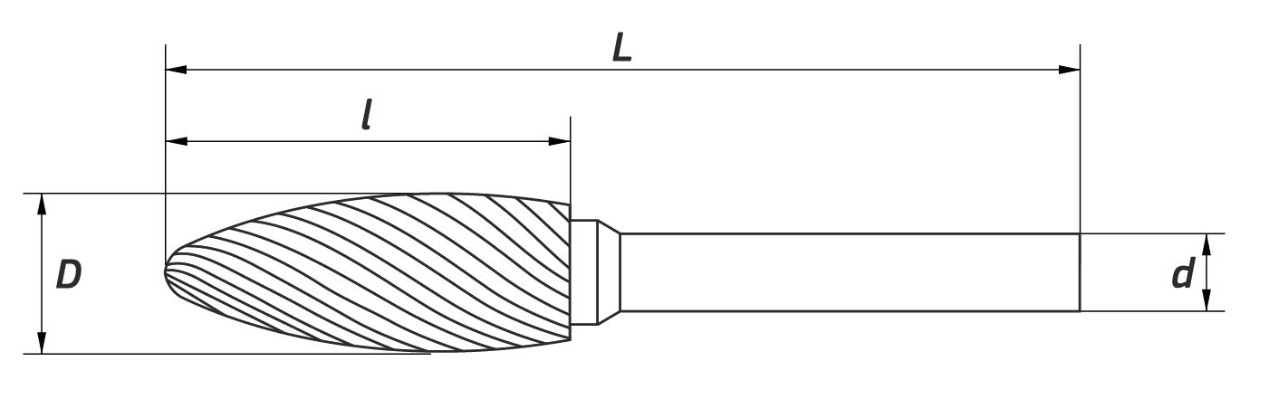
Характеристики:

D, мм
12
l, мм
32
L, мм
77
d, мм
6

Описание:

Твердосплавная бор-фреза пламевидная Тип H.
Размеры : диаметр рабочей части 12 мм, диаметр хвостовика 6 мм, длина рабочей части 32 мм, длина хвостовика 43 мм. Глубокая одинарная насечка.
Применяются на скругленных поверхностях, а также для снятия фаски у формованных деталей.

Инфрмация для заказа:

На сайте СПЕЦМАШИНЖИНИРИНГ.РФ Вы можете купить SM-H-12-32-4-06-43, добавив товар в корзину и оставив контактные данные или позвонив по телефону +7 (4722) 34-50-28. Наши менеджеры проконсультируют Вас и примут заказ.

КОНТАКТНАЯ ИНФОРМАЦИЯ

Посмотреть на карте Белгорода

Написать в Telegram